作者: 昂洋-焊接工發表時間:2020-08-04 18:13:24瀏覽量:12030【小中大】
一般從供貨商那里拿到貨以后,首先要對產品進行檢測,以防拿到次品。最通用的方法就是使用萬用表來進行測量,操作方法簡單,今天教大家怎樣使用萬用表測量貼片電容好壞。
首先,我們要知道怎樣使用萬用表測貼片電容,具體方法如下:
1、還把萬用表調到歐姆檔適當檔位,檔位選擇的原則是:1μF的電容用了20K檔,1-100μF電容用了2K檔,大于100,μF的用了200檔。
2、判斷極性,先將把萬用表調到100或1K歐姆檔,假定一極為正極,就讓黑表筆與它連接,紅表筆和另一極連接,記下阻值,再然后把電容放電,即讓兩極接觸,再然后換表筆測電阻,阻值大的一次黑表筆對接的就是電容的正極。
3、然后用萬用表的紅筆接電容的正極,黑筆接電容的負極,如果顯示從0慢慢增加,最后顯示溢出符號1則電容正常,如果始終顯示為0,則電容內部短路,如果始終顯示1, 則電容內部斷路。

固定電容器的檢測
1、檢測10pF以下的小電容
因10pF以下的固定電容器容量太小,用萬用表進行測量,只能定性的檢查其是否有漏電,內部短路或擊穿現象。測量時,可選用萬用表R×10k擋,用兩表筆分別任意接電容的兩個引腳,阻值應為無窮大。若測出阻值(指針向右擺動)為零,則說明電容漏電損壞或內部擊穿。
2、檢測10PF~0.01μF固定電容器是否有充電現象,進而判斷其好壞。萬用表選用R×1k擋。兩只三極管的β值均為100以上,且穿透電流要小。可選用3DG6等型號硅三極管組成復合管。萬用表的紅和黑表筆分別與復合管的發射極e和集電極c相接。由于復合三極管的放大作用,把被測電容的充放電過程予以放大,使萬用表指針擺幅度加大,從而便于觀察。應注意的是:在測試操作時,特別是在測較小容量的電容時,要反復調換被測電容引腳接觸A、B兩點,才能明顯地看到萬用表指針的擺動。
3、對于0.01μF以上的固定電容,可用萬用表的R×10k擋直接測試電容器有無充電過程以及有無內部短路或漏電,并可根據指針向右擺動的幅度大小估計出電容器的容量。

電解電容器的檢測
1、因為電解電容的容量較一般固定電容大得多,所以,測量時,應針對不同容量選用合適的量程。根據經驗,一般情況下,1~47μF間的電容,可用R×1k擋測量,大于47μF的電容可用R×100擋測量。
2、將萬用表紅表筆接負極,黑表筆接正極,在剛接觸的瞬間,萬用表指針即向右偏轉較大偏度(對于同一電阻擋,容量越大,擺幅越大),接著逐漸向左回轉,直到停在某一位置。此時的阻值便是電解電容的正向漏電阻,此值略大于反向漏電阻。實際使用經驗表明,電解電容的漏電阻一般應在幾百kΩ以上,否則,將不能正常工作。在測試中,若正向、反向均無充電的現象,即表針不動,則說明容量消失或內部斷路;如果所測阻值很小或為零,說明電容漏電大或已擊穿損壞,不能再使用。
3、對于正、負極標志不明的電解電容器,可利用上述測量漏電阻的方法加以判別。即先任意測一下漏電阻,記住其大小,然后交換表筆再測出一個阻值。兩次測量中阻值大的那一次便是正向接法,即黑表筆接的是正極,紅表筆接的是負極。D?使用萬用表電阻擋,采用給電解電容進行正、反向充電的方法,根據指針向右擺動幅度的大小,可估測出電解電容的容量。
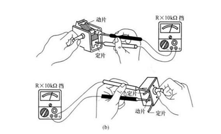
可變電容器的檢測

1、用手輕輕旋動轉軸,應感覺十分平滑,不應感覺有時松時緊甚至有卡滯現象。將載軸向前、后、上、下、左、右等各個方向推動時,轉軸不應有松動的現象。
2、用一只手旋動轉軸,另一只手輕摸動片組的外緣,不應感覺有任何松脫現象。轉軸與動片之間接觸不良的可變電容器,是不能再繼續使用的。
3、將萬用表置于R×10k擋,一只手將兩個表筆分別接可變電容器的動片和定片的引出端,另一只手將轉軸緩緩旋動幾個來回,萬用表指針都應在無窮大位置不動。在旋動轉軸的過程中,如果指針有時指向零,說明動片和定片之間存在短路點;如果碰到某一角度,萬用表讀數不為無窮大而是出現一定阻值,說明可變電容器動片與定片之間存在漏電現象。

怎么測量貼片電容的好壞?
怎么測量貼片電容的好壞?貼片電容引用在各大電子行業,由于它的體積小長相也基本相似,所以在測量大批貼片電容時切勿混淆,以免導致二次維修。測量貼片電容的好壞方法如下:
第一:電容的功能和表示方法。
電容有兩個金屬極,中間夾有絕緣介質構成。電容的特性主要是隔直流通交流,因此多用于級間耦合、濾波、去耦、旁路及信號調諧。電容在電路中用“C”加數字表示,比如C8,表示在電路中編號為8的電容。
第二:電容的分類。
電容按介質不同分為:氣體介質電容,液體介質電容,無機固體介質電容,有機固體介質電容電解電容。按極性分為:有極性電容和無極性電容。按結構可分為:固定電容,可變電容,微調電容。
第三:電容的容量單位和耐壓。
電容的基本單位是F(法),其它單位還有:毫法(mF)、微法(uF)、納法(nF)、皮法(pF)。由于單位F的容量太大,所以我們看到的一般都是μF、nF、pF的單位。換算關系:1F=1000000μF,1μF=1000nF=1000000pF。
每一個電容都有它的耐壓值,用V表示。一般無極電容的標稱耐壓值比較高有:63V、100V、160V、250V、400V、600V、1000V等。有極電容的耐壓相對比較低,一般標稱耐壓值有:4V、6.3V、10V、16V、25V、35V、50V、63V、80V、100V、220V、400V等。
第四:電容的容量。
電容容量表示能貯存電能的大小。電容對交流信號的阻礙作用稱為容抗,容抗與交流信號的頻率和電容量有關,容抗XC=1/2πfc(f表示交流信號的頻率,C表示電容容量)。

第五:電容的正負極區分和測量。
電容上面有標志的黑塊為負極。在PCB上電容位置上有兩個半圓,涂顏色的半圓對應的引腳為負極。也有用引腳長短來區別正負極長腳為正,短腳為負。
當我們不知道電容的正負極時,可以用萬用表來測量。電容兩極之間的介質并不是絕對的絕緣體,它的電阻也不是無限大,而是一個有限的數值,一般在1000兆歐以上。電容兩極之間的電阻叫做絕緣電阻或漏電電阻。只有電解電容的正極接電源正(電阻擋時的黑表筆),負端接電源負(電阻擋時的紅表筆)時,電解電容的漏電流才小(漏電阻大)。反之,則電解電容的漏電流增加(漏電阻減小)。
在不知情的情況下可以先假定某極為“+”極,萬用表選用R*100或R*1K擋,然后將假定的“+”極與萬用表的黑表筆相接,另一電極與萬用表的紅表筆相接,記下表針停止的刻度(表針靠左阻值大),對于數字萬用表來說可以直接讀出讀數。然后將電容放電(兩根引線碰一下),然后兩只表筆對調,重新進行測量。兩次測量中,表針最后停留的位置靠左(或阻值大)的那次,黑表筆接的就是電解電容的正極。

第六:電容的標注方法和容量誤差。
電容的標注方法分為:直標法、色標法和數標法。對于體積比較大的電容,多采用直標法。如果是0.005,表示0.005uF=5nF。如果是5n,那就表示的是5nF。
數標法:一般用三位數字表示容量大小,前兩位表示有效數字,第三位數字是10的多少次方。如:102表示10x10x10PF=1000PF,203表示20x10x10x10PF。
色標法,沿電容引線方向,用不同的顏色表示不同的數字,第一、二種環表示電容量,第三種顏色表示有效數字后零的個數(單位為pF)。顏色代表的數值為:黑=0、棕=1、紅=2、橙=3、黃=4、綠=5、藍=6、紫=7、灰=8、白=9。
電容容量誤差用符號F、G、J、K、L、M來表示,允許誤差分別對應為±1%、±2%、±5%、±10%、±15%、±20%。
深圳市昂洋科技是擁有十多年的批發代理、生產、銷售電容器,電感器,電阻器等產品的綜合供應商;主要經營的產品有貼片電容,合金電阻,貼片電阻,二三極管,功率電感,高頻電感,磁珠類市面主流的電子元器件,合作的品牌有村田、三星、國巨、TDK、風華等國際大型知名品牌,廠家直接進貨,提供技術支持,對產品品質嚴格把控,歡迎您咨詢與合作。